Dette er ment som dokumentasjon for utviklere hos sluttbrukersystemer som skal etablere innsending av årsregnskap i Altinn3.
Systembruker er et nytt konsept i Altinn 3, som har som formål å delegere rettigheter til og gjøre handlinger på vegne av en upersonlig bruker, som er definert av et samarbeid mellom organisasjoner i stedet for en person. Man kan lese mer om det her.
Skjemaene for Årsregnskap støtter også bruk av systembruker til å fylle ut skjema på vegne av en bedrift, men en viktig begrensning: Signatur krever fortsatt ID-Porten, så et personnummer er tilknyttet signaturen. Dette er av juridisk hensyn.
| Instansiere på nytt dokument | Fylle inn verdier | Laste opp filer | Låse skjema | Signere | |
|---|---|---|---|---|---|
| Systembruker | ✅ | ✅ | ✅ | ✅ | ❌ |
| ID-porten | ✅ | ✅ | ✅ | ✅ | ✅ |
Husk at å signere også automatisk sender inn skjema, så det er alltid siste steget i en innsending.
Selve innsendingen er knyttet til bedriften i stedet for brukeren: Dette betyr at det er fullt mulig å fylle ut et skjema med systembruker, deretter logge inn via ID-Porten for å signere det samme dokumentet man fylte ut med systembruker.
Årsregnskap i Altinn3 støtter de samme 3 typer innsending som i Altinn2: Ukomplett innsending, komplett innsending, og fullført. En innsending er fullført når den signeres. Den vil da automatisk sendes til arkivet og innboksen
| Type | Forklaring |
|---|---|
| Ukomplett innsending | Dokumentet er fylt inn med verdier, og kunde kan gå inn og redigere verdiene før de signerer. |
| Komplett innsending | Dokumentet er fylt inn med verdier, og låst. Kunde kan signere dokumentet, men kan ikke redigere verdiene. |
| Fullført/signert | Regnskapsfører fyller inn verdier, og signerer dokumentet selv. Dokumentet blir sendt inn, og kunde får en kopi i innboksen |
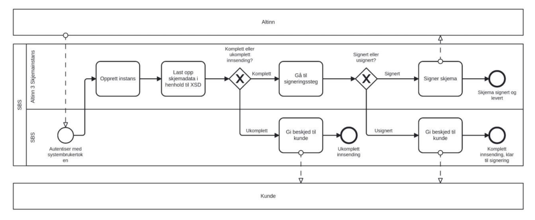
Under er et BPMN-diagram for prosessen for å sette skjemaet i ønsket tilstand. Disse handlingene gjøres via API-kall, eller ved å trykke på synlige knapper i skjemaet i nettleseren.

Som vist på diagrammet, må skjemaet alltid gjennom alle tre tilstandene for å bli sendt inn. Alle skjemaer starter som ukomplett innsending. Deretter må skjemaet låses (komplett innsending) før det kan signeres.
Sammen med dette dokumentet er det lagt ved et sett med environments og collections for Postman, som utviklerene av årsregnskapene har brukt til egentesting. Det er satt opp for å kunne sende inn skjemaer til testserveren til altinn, tt02. Det er en nyttig ressurs for å se hvordan man sender inn skjema.
Viktige konsepter:
Etter at dere har fått dreisen på stegvis innsending som er i Postman-oppsettet, som forsiktig gjør innsendingen ett steg av gangen, kan man forenkle prosessen ved å instansiere skjema og laste opp all skjemadata og vedlegg i ett API-kall. Dette gjøres ved en multipart/form-data innsending som kombinerer kall for hovedskjema, underskjemaer og vedlegg. Man vil fortsatt trenge å deretter sende egne kall for å låse skjemaet og for å signere. Les om hvordan å bygge multipart innsending her: https://docs.altinn.studio/nb/api/apps/instances/#create-instance
Link: https://digdir-samarbeid.slack.com/archives/C08HF9DEALT